|
|
Eine kleine, aber feine, Formelsammlung finden Sie weiter unten auf dieser Seite.
Mit dieser Sammlung können Sie, bei entsprechendem Fachwissen, entscheidende Eckwerte von
Ottomotoren berechnen.
Viel Spass dabei.
___________________________________________________
|
|
|
|
|
|
|
|
|
|
|
In der neueren Vergangenheit stellen wir in der Szene merkwürdige “Rechenkünste” fest. So sollen beispielsweise
bei einem 2.0 ltr. 4-Zyl.-Motor, allein durch Auf- bohren um 1mm Durchmesser, angeblich sagenhafte zusätzliche 300 ccm erreicht werden. Also sollen allein durch 1mm Aufbohren, aus 2.0, 2.3 ltr.
gemacht werden.
Es wäre ja schön, wenn das so leicht ginge. Nur - so einfach geht’s dann doch nicht.
Um dieses zu erreichen,
müsste, bei gleichem Hub, schon um 6mm aufgebohrt werden. Das wiederum ist bei keinem Motorblock so ohne weiteres möglich. Schon gar nicht haltbar und ohne beim bohren in einen Wasserkanal zu
kommen.
Welches dann im gleichen Atemzug heisst: Um die zusätzlichen 300 ccm zu realisieren, ist neben dem Aufbohren auch mindestens eine andere Kurbelwelle mit mehr Hub nötig.
|
|
Nachfolgend haben wir einmal die mathematische Formel zur Hubraum-Berechnung aufgeführt:
|
|
|
_________________________________
|
|
|
Basisformel zur Hubraum-Berechnung D x D x p x H x n = VH 4 X 1000 ____________________________________________________________________ ______ Beispiel 1: OPEL 2.0 ltr. OHC und 16V 86 x 86 x 3.1415926 x 86 x 4 = 1998ccm
4 x 1000
|
|
|
Zum besseren Verständnis, was da eigentlich wirklich im Motor geschieht, haben wir nachfolgend einmal einige Bilder
plaziert, an denen die Arbeitsweise nochmals in Erinnerung gerufen wird.
|
|
|
|
|
Und bei dem nachfolgenden Beispiel (unsere OPEL 2.0ltr. 16V + OHC Hubraum-
vergrösserung), kann leicht erkannt werden, das es nur durch Aufbohren und einer anderen Kurbelwelle mit mehr Hub geht, das vor- genannte Ziel zu erreichen.
|
|
|
|
|
_________________________________
|
|
|
|
|
Hier wieder die Basisformel zur Hubraum-Berechnung D x D x p x H x n = VH 4 X 1000 ___________________________________________________________________________
___ Beispiel 2: OPEL 16V C20XE von 2.0 auf 2.3 ltr. Hubraum 88 x 88 x 3.1415926 x 94.6 x 4 = 2301ccm 4 x 1000
|
|
|
|
|
|
Legende:
|
|
D =
|
Zylinderdurchmesser
|
|
H =
|
Kurbelwellenhub
|
|
n =
|
Zylinder-Anzahl
|
|
VH =
|
Hubvolumen
|
|
|
|
|
_________________________________
|
|
|
|
Ebenso merkwürdig wird mit Ergebnisseb und Rundungen verfahren. Mal wird schon ab
...,3 aufgerundet, ein andermal bereits ab ...,1. Frei nach dem Motto: Alles was über Null ist, wird halt zu einer grösseren Zahl aufge- rundet. So werden gern
schon mal aus 2245 ccm im Ergebnis 2,3 ltr. gemacht, was ja eigentlich nicht richtig und schon gar nicht korrekt ist.
|
|
|
|
|
Lassen Sie sich also nichts vormachen und rechnen lieber mal selber eben kurz nach.
Einen Taschenrechner hat sicherlich ein jeder.
Und jetzt viel Spass beim Aufdecken einiger “genialer” Rechenkünste und -künstler.
|
|
|
|
|
|
|
|
|
__________________________________________________
|
|
|
|
|
|
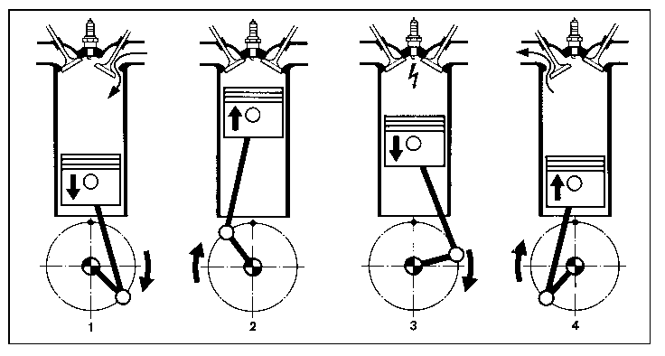
1. Takt, Ansaugen: Der Kolben befindet sich im oberen Totpunkt und beginnt, sich abwärts zu bewegen. Das Einlass-
ventil öffnet und Luft oder brennbares Gemisch wird in den Zylinder gesaugt. Wenn der Kolben den unteren Totpunkt erreicht, wird das Einlassventil geschlossen.
|
|
|
|
|
|
|
|
|
2. Takt, Verdichten: Der Kolben bewegt sich nun nach oben und verdichtet dabei das im Zylinder befindliche Gas. Ist der
Kolben beim Otto-Motor mit Vergaser oder in- direkter Benzineinspritzung nahe am oberen Totpunkt angelangt, wird die Zündkerze gezündet; beim Direktein- spritzer wird kurz zuvor der Kraftstoff eingespritzt.
Ebenso beim Diesel- motor: kurz vor Erreichen des oberen Totpunktes wird der Dieselkraftstoff eingespritzt. Durch die Aufwärtsbe- wegung des Kolbens wird das Luft- Kraftstoffgemisch verdichtet. Das Gas
erwärmt sich, der Druck steigt bis zur Entzündung. Bei Dieselmotoren ent- zündet sich das Gemisch automatisch durch die Verdichtung, die die Tem- peratur erhöht, beim Benzinmotor wird es durch den Funken der
Zünd- kerze ausgelöst.
|
|
3. Takt, Arbeiten: Das verbrannte Gas hat einen höheren Druck als das verdichtete, so dass beim Arbeitstakt mechanische
Arbeit verrichtet wird.
4. Takt, Ausstossen: Wenn der Kolben den unteren Totpunkt erreicht, wird das Aus- lassventil geöffnet. Durch die
Aufwärts- bewegung des Kolbens wird das Abgas aus dem Zylinder geschoben. Am Ende des Aus- stosstaktes kommt es zur so ge- nannten Ventilüberschneidung. Das Einlassventil wird geöffnet, bevor der Kolben den
oberen Totpunkt erreicht hat. Durch den Sog der ausströ- menden Abgase entsteht ein Unter- druck, durch den das Gemisch oder die Ansaugluft gegen die Kolbenbewe- gung einströmen kann. Hierdurch wird der
Füllungsgrad verbessert. Das Aus- lassventil schleisst, kurz nachdem der Kolben den oberen Totpunkt erreicht hat.
|
|
|
|
Als Graphik sieht das Ganze folgendermassen aus:
|
|
|
|
 |
|
|
|
|
|
|
|
Da vielfach der Wunsch an uns heran- getragen wurde, bis zur Fertigstellung unserer
aktuellen Katalog-CD zumindest einige grundsätzliche Formeln zur Motor- berechnung zu veröffentlichen, kommen wir nachfolgend diesem Wunsch nach:
|
|
!
|
|
Aber bitte nur bei fundiertem Fachwissen anwenden und umsetzen !!!
|
|
|
!
|
|
|

|
|
Alle Angaben ohne Gewähr !
|
|
|
|
|
|
|
|
|
|
__________________________________________________
|
|
|
|
|